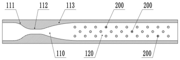
The utility model patent belongs to the technical field of chemical equipment, presents a high-speed atomization reaction tube, including a tube body, which is provided with an atomization area and a baffling area, the atomization area along the material flow direction is provided with a contraction section, a throat section and an expansion section in order, the baffling area is provided with several baffling members.
In this utility model patent, the atomization area in the tube body is used to atomize the reaction material, and the contact area of the reaction material after atomization is increased, which is more conducive to the mass transfer process of the reaction material; then the baffling area is used to change the flow path of the reaction material, so as to improve the mixing effect of the reaction material, and then improve the mass transfer efficiency of the reaction material, that is, the reaction tube in this utility model patent has the advantage of high mass transfer efficiency, it can reduce the occurrence of side reactions and improve the quality and efficiency of production.

In the chemical production process, the production of many chemical products needs to be completed by chemical reactions, which are generally divided into continuous reaction processes and intermittent reaction processes.
The intermittent reaction process needs to be carried out in the reactor, and the intermittent reaction has the problems of long reaction time, low equipment utilization and weak production capacity of a single reactor.
While the continuous reaction process is carried out in a tubular reactor, which is generally used to carry out strong exothermic reaction process or strong heat-absorbing reaction process, and the tubular reactor has many reaction tubes in which the reaction materials are chemically reacted to produce products.
At present, in order to improve the mass transfer efficiency of the reaction materials in the reactor tubes, we usually add baffling members to the reactor tubes, which are used to change the flow path of the reaction materials and thus improve the mixing effect between the reaction materials.
However, as the blaffling members in the reaction tube are usually of baffle structures, the mass transfer efficiency of the reaction material can be improved to a limited extent, therefore there is an urgent need to develop a reaction tube with higher mass transfer efficiency.