
Abstract
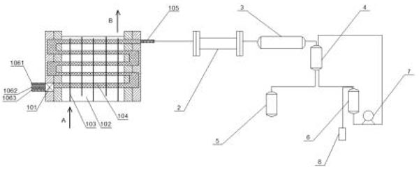
This utility model pertains to the field of organic synthesis technology and, more specifically, relates to a continuous production system for phenylamine-based acetonitrile. The production system includes sequentially connected microreactors, delay reactors, cooling mechanisms, and phase separation devices. The phase separation device is equipped with an inlet for the liquid phase, an outlet for the oil phase, and an outlet for the aqueous phase. The oil phase outlet is connected to a cooling granulation device, and the aqueous phase outlet is connected to a first vacuum low-temperature evaporation and dehydration device. The first vacuum low-temperature evaporation and dehydration device is equipped with a discharge port, which is connected to the inlet of the phase separation device through a circulation pump. This utility model combines microreactors and delay reactors with precise temperature control to avoid local overheating, which can lead to unwanted reactions, such as the polymerization or decomposition of phenylamine-based acetonitrile, thereby reducing the COD content.
1
A continuous production system for phenylamine-based acetonitrile, characterized by sequentially connected microreactors, delay reactors, a cooling mechanism, and a phase separation device. The phase separation device is equipped with an inlet for the liquid phase, an outlet for the oil phase, and an outlet for the aqueous phase. The oil phase outlet is connected to a cooling granulation device, and the aqueous phase outlet is connected to a first vacuum low-temperature evaporation and dehydration device. The first vacuum low-temperature evaporation and dehydration device is equipped with a discharge port, which is connected to the inlet of the phase separation device through a circulation pump.
2
The continuous production system for phenylamine-based acetonitrile according to claim 1, wherein the microreactor uses a high-throughput continuous-flow microreactor.
3
The continuous production system for phenylamine-based acetonitrile according to claim 1, wherein the delay reactor uses a differential side-stream reactor.
4
The continuous production system for phenylamine-based acetonitrile according to claim 1, wherein the phase separation device employs an automatic phase separator or a liquid-liquid phase separation centrifuge.
5
The continuous production system for phenylamine-based acetonitrile according to claim 1, wherein the first vacuum low-temperature evaporation and dehydration device includes an evaporator, and the evaporator uses a falling film evaporator, a forced circulation reboiler, or a siphon reboiler.
6
The continuous production system for phenylamine-based acetonitrile according to claim 5, wherein the evaporator uses a falling film evaporator.
7
The continuous production system for phenylamine-based acetonitrile according to claim 1, further comprising a second vacuum low-temperature evaporation and dehydration device, which is positioned between the oil phase outlet and the cooling granulation device of the phase separation device.
8
The continuous production system for phenylamine-based acetonitrile according to claim 7, wherein the second vacuum low-temperature evaporation and dehydration device includes an evaporator, and the evaporator uses a falling film evaporator, a forced circulation reboiler, or a siphon reboiler.
Description
Technical Field
This utility model relates to the field of organic synthesis technology, specifically involving a continuous production system for phenylamine-based acetonitrile.